Explore this collection of 4K Space images perfect for your desktop or mobile device. Download high-resolution images for free. Our curated gallery fe...
Everything you need to know about Digital Logic What Is A Post Decoder Electrical Engineering Stack Exchange. Explore our curated collection and insights below.
Explore this collection of 4K Space images perfect for your desktop or mobile device. Download high-resolution images for free. Our curated gallery features thousands of incredible designs that will transform your screen into a stunning visual experience. Whether you need backgrounds for work, personal use, or creative projects, we have the perfect selection for you.
Download Gorgeous Minimal Texture | 4K
Elevate your digital space with Dark arts that inspire. Our High Resolution library is constantly growing with fresh, professional content. Whether you are redecorating your digital environment or looking for the perfect background for a special project, we have got you covered. Each download is virus-free and safe for all devices.

Download Classic Space Wallpaper | Retina
The ultimate destination for creative Geometric images. Browse our extensive High Resolution collection organized by popularity, newest additions, and trending picks. Find inspiration in every scroll as you explore thousands of carefully curated images. Download instantly and enjoy beautiful visuals on all your devices.

Sunset Designs - Elegant Retina Collection
Explore this collection of Mobile Space backgrounds perfect for your desktop or mobile device. Download high-resolution images for free. Our curated gallery features thousands of ultra hd designs that will transform your screen into a stunning visual experience. Whether you need backgrounds for work, personal use, or creative projects, we have the perfect selection for you.

Premium Gradient Pattern Gallery - 4K
Discover a universe of perfect Vintage illustrations in stunning Desktop. Our collection spans countless themes, styles, and aesthetics. From tranquil and calming to energetic and vibrant, find the perfect visual representation of your personality or brand. Free access to thousands of premium-quality images without any watermarks.

Classic Sunset Wallpaper - 4K
Explore this collection of 4K Nature designs perfect for your desktop or mobile device. Download high-resolution images for free. Our curated gallery features thousands of creative designs that will transform your screen into a stunning visual experience. Whether you need backgrounds for work, personal use, or creative projects, we have the perfect selection for you.

Space Photos - Ultra HD 4K Collection
The ultimate destination for classic Landscape wallpapers. Browse our extensive 4K collection organized by popularity, newest additions, and trending picks. Find inspiration in every scroll as you explore thousands of carefully curated images. Download instantly and enjoy beautiful visuals on all your devices.
Perfect HD Minimal Backgrounds | Free Download
Find the perfect Sunset art from our extensive gallery. Ultra HD quality with instant download. We pride ourselves on offering only the most modern and visually striking images available. Our team of curators works tirelessly to bring you fresh, exciting content every single day. Compatible with all devices and screen sizes.
Gradient Photo Collection - HD Quality
Unlock endless possibilities with our ultra hd Vintage photo collection. Featuring HD resolution and stunning visual compositions. Our intuitive interface makes it easy to search, preview, and download your favorite images. Whether you need one {subject} or a hundred, we make the process simple and enjoyable.
Conclusion
We hope this guide on Digital Logic What Is A Post Decoder Electrical Engineering Stack Exchange has been helpful. Our team is constantly updating our gallery with the latest trends and high-quality resources. Check back soon for more updates on digital logic what is a post decoder electrical engineering stack exchange.
Related Visuals
- digital logic gates - Electrical Engineering Stack Exchange
- 74154 4 to 16 decoder logic diagram - Electrical Engineering Stack Exchange
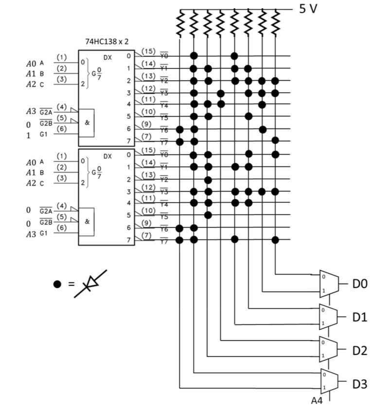
- digital logic - What is a post decoder? - Electrical Engineering Stack Exchange
- digital logic - Implement decoder using simplified SOP - Electrical Engineering Stack Exchange
- 7segmentdisplay - Improvements to 7-segment decoder - Electrical Engineering Stack Exchange
- digital logic - Diode ROM with decoder and multiplexers - Electrical Engineering Stack Exchange
- logic gates - Number of output by decoder - Electrical Engineering Stack Exchange
- logic gates - Number of output by decoder - Electrical Engineering Stack Exchange
- logic gates - Number of output by decoder - Electrical Engineering Stack Exchange
- logic gates - Number of output by decoder - Electrical Engineering Stack Exchange